Эволюция индуктивных датчиков
Эволюция индуктивных датчиков

Датчик БВК 260
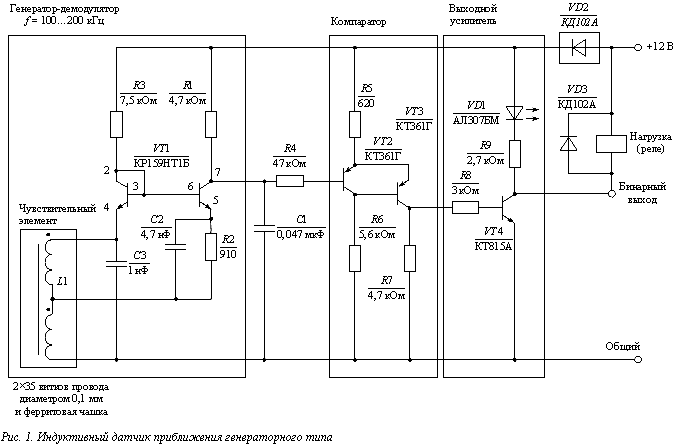
История схемотехники индуктивных датчиков, которые сейчас применяются во всех отраслях промышленности, началась с оригинальной генераторной схемы (рис. 1), выполненной всего на пяти транзисторах.
Она была предложена в то время, когда в техническом мире преобладали дискретные корпусные электронные компоненты, и ее появление изменило дальнейший ход истории, заложив фундамент для производства индуктивных бесконтактных выключателей.
Главное звено здесь - LC-генератор на транзисторной сборке VT1 с двухобмоточной катушкой, помещенной в магнитопровод. Когда объект находится вне чувствительной зоны катушек, в генераторе есть колебания; объект попал внутрь чувствительной зоны - колебания прекратились.

Индуктивные датчики оказались очень доступным, простым, надёжным и дешёвым элементом систем управления приводами, станков, автоматических линий, систем измерения физических величин. Их производством занялись многие фирмы, которые в дальнейшем увеличили тиражи индуктивных датчиков приближения до миллионов единиц.
По мнению журнала "Control Engineering Europe", общий рынок датчиков (индуктивных, оптических, ёмкостных, ультразвуковых, магнитных) в 2002 г. оценивался в 2,7 млрд. евро и его рост составлял 5 % в год.
В Московском Энергетическом институте (1988 г.) был разработан иной индуктивный датчик приближения, работающий на резонансном принципе, т. е. индуктивный датчик малых перемещений (рис. 2). Резонансный принцип действия для чувствительных элементов фотодатчиков был предложен ещё раньше и хорошо показал себя в измерительном электронном оборудовании для Московской Олимпиады (1980 г.).

Чувствительным элементом датчика является катушка L1 с сердечником, которая вместе с конденсатором С1 составляет параллельный колебательный контур, запитываемый от RC-генератора несущей частоты. На выходе этого индуктивного датчика вырабатывается бинарный сигнал высокого уровня при сближении с мишенью и низкого уровня – при удалении от нее.

Вариации первоначальной схемы привели к увеличению ассортимента датчиков до тысяч типоразмеров. Основные изменения связаны с необходимостью применения датчиков в специальных нестандартных условиях: повышенное давление, большая разница температур, химически агрессивная рабочая среда, взрывоопасные зоны, а также в местах, где под угрозой безопасность человека.
Отлаженная технология производства датчиков позволяет гарантировать их безотказную эксплуатацию в течение 5ти лет. А в реальности срок службы индуктивных выключателей может достигать до 20 лет. Так датчики, установленные в 80х годах XX века, до сих пор задействованы в составе оборудования на некоторых предприятиях.
Современные индуктивные датчики приближения отличаются от первоначальных экземпляров разнообразной схемотехникой, в том числе широким использованием интегральных схем, технологиями поверхностного монтажа компонентов, а также конструктивным исполнением. Теперь конструкция датчиков имеет не только щелевой вид, но и торцевой (уголковый). Щелевые датчики часто выходили из строя из-за разбалтывания флажка. С появлением торцевых бесконтактных выключателей с аналогичными характеристиками этот недостаток исчез в виду отсутствия самого флажка.

Торцевые (уголковые) индуктивные датчики производства «ТЕКО» серий ISB M и ISB L разработаны для замены технически устаревших щелевых датчиков (таблица соответствий). При этом они соответствуют типоразмеру и посадочным местам датчиков типа БВК, а значит, сложностей в переходе на новый вид сенсоров не возникает.Чувствительная зона нещелевых датчиков больше, что увеличивает точность показаний, а замена флажка на пластинку в качестве элемента воздействия исключает возможность поломки рожка.
Некоторые производители предлагают достойную замену старым щелевым (путевым) датчикам типа БВК, тем самым, которые служили более 10ти лет и хорошо себя зарекомендовали. Но приобретая щелевые датчики нового поколения, заказчик часто сталкивается с несоответствием типоразмеров и посадочных мест.
В настоящее время компания «ТЕКО» производит щелевые индуктивные датчики приближения нового поколения с улучшенными электрическими характеристиками и возможностью менять типоразмеры и посадочные места для крепления. Эти датчики полностью совместимы с теми, что производились ранее и подлежат замене теперь.
Датчики типа БВК
|
Щелевые датчики «ТЕКО»
|
Уголковые датчики «ТЕКО»
|
Сенсор
|
БВК 260, БВК 24
|
--
|
ВБИ-Щ10-110У-1111-З
|
|
БВК 261
|
ВБИ-Щ10-111У-1111-З
|
||
БВК 262, БВК 202, БВК 222
|
ВБИ-Щ10-122У-1111-З
|
||
БВК 264, БВК 204
|
ВБИ-Щ06-634У-1111-З
|
||
БВК 323
|
--
|
ВБИ-Щ06-617У-1111-З
|
|
БВК 324
|
--
|
ВБИ-Щ06-617У-1111-З
|
|
КВД-6
|
--
|
ВБИ-Щ06-600У-1111-З
|
|
БВК 201
|
--
|
ВБИ-Щ10-111У-1111-З
|
|
БВК 263
|
--
|
ВБИ-Щ10-111У-1111-З
|
|
БВК 265
|
--
|
ВБИ-Щ10-115У-1111-З
|
|
БВК322-24 (БВК421-24)
|
--
|
ВБИ-Щ06-623У-1111-З
|
|
БВК203-24
|
ВБИ-Щ10-111У-1111-З
|
||
БВК423-24 (БВК424-24)
|
--
|
ВБИ-Щ06-617У-1111-З
|
|
--
|
--
|
ВБИ-Щ10-100У-1111-З
|
При подготовке статьи использована литература:
Габов А.П., Рыжов С.Н. Так что же это за “хитрость” – индуктивный датчик приближения?
// Приборы и системы. Управление, контроль, диагностика. – Москва, 2005.- №12.- с.36-39.